menu mikrofony
Úvodní stránka inductory page
Kontakt contacts
hobby Historické mikrofony historic microphones Reportážní magnetofony report magnetophones Schémata, návody sheets

Studiový kondenzátorový mikrofon AKG C 61

Studiový malomembránový kondenzátorový mikrofon C61 je nuvistorovou inovací staršího elektronkového mikrofonu   C60. Má velmi podobné rozměry, celokovové tělo a díky malému rozměru elektronky-nuvistoru obsahuje i výstupní transformátor (C60 má výstupní transformátor umístěn v napaječi N60A).

mikrofon AKG C61 Nr.6896 s vložkou CK1 Nr.6848

VŠEOBECNÉ ÚDAJE:
Výrobce: Akustische u. Kino-Geräte, Wien, Rakousko
Tovární typ: C 61
Použití: studiový provoz
Váha: 60 g
Rozměry: ø 18 x 150 mm

ELEKTRICKÉ HODNOTY:
Citlivost: 0,8 mV/mikrobar
Kmitočtová charakteristika: 30 - 15 000 Hz ± 2,5dB
Směrová charakteristika: kardioidní (s mikrofonní vložkou CK 1)
kulová (s mikrofonní vložkou CK 2)
Výstupní impedance: 200 Ω
Výstup: symetrický
Napájení (napáječ N 61 A): 5V/135 mA - žhavení
120 V/0,6 mA - anoda
Osazení: nuvistor 7586

mikrofon AKG C61 Nr.6896 s vložkou CK1 Nr.6848 v originální krabičce, originální plastová krabička s vložkou CK2 a originální windscreen s upevňovacím kroužkem

PŘÍSLUŠENSTVÍ:
- Mikrofonní vložka tov. typ CK 1 (s kardioidní směrovou charakteristikou)
- Napáječ tov. typ   N 61 A
- Mikrofonní kabel tov. typ MK 61. délka 10m
- Výstupní konektor tov. typ Cannon XLR-3-IIC

Příslušenství na zvláštní objednávku:
- Mikrofonní vložka tov. typ CK 2 (s kulovou směrovou charakteristikou)
- Windscreen s upevňovacím kroužkem, který se nasadí před našroubováním vložky.

TECHNICKÝ POPIS:
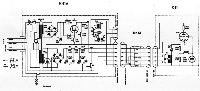
- Kmitočtová charakteristika v oblasti nízkých knitočtů se ovládá přepínačem, umístěným v napáječi   N 61 A. Jednotlivým polohám přepínače odpovídá pokles citlivosti o 0, -7 a -12 dB (na 50 Hz).
- Směrová charakteristika se mění výměnou mikrofonní vložky.
- Žhavicí proud nuvistoru 7586 se nastavuje odporem R1 v napáječi   N 61 A.

Schema zapojení předzesilovače a napaječe

AKG C61 uvnitř

Z originálních firemních materiálů     Z originálních firemních materiálů     Z originálních firemních materiálů

  Redukce ke kapslím Neumann Gefell
  Nuvistor 7586 Philips
  Nuvistor 7586 RCA

Elektronka nuvistor 7586          Mikrofonní vložka CK1 a CK2

Mikrofonní vložka CK1 má mimořádně lehkou membránu. Je vhodná pro snímání jemných detailů vysokých kmitočtů, které produkují některé klasické nástroje. Díky lehké membráně má také potlačen manipulační hluk. Využívá se i v jiných mikrofonech např. AKG C451, C452 apod.
Řez mikrofonní vložkou CK-1   Z originálních firemních materiálů CK-1S

  Z originálních firemních materiálů CK-1X

  Z originálních firemních materiálů CK-1

  Z originálních firemních materiálů CK-2X

  Z originálních firemních materiálů CK-2

Mikrofon AKG C61 lze napájet zdrojem Neumann N57 příp. N61:
Dioda (0,5A/500V) umístěná v konektoru NS65 je pro snížení žhavícího napětí nuvistoru

  Nuvistor

Vyobrazený vzorek je kompletně funkční.

nahoru