menu mikrofony
Úvodní stránka inductory page
Kontakt contacts
hobby Historické mikrofony historic microphones Reportážní magnetofony report magnetophones Schémata, návody sheets

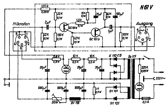
Napaječ N61V pro kondenzátorové mikrofony Neumann

Napaječ byl určený pro napájení předzesilovačů kondenzátorových mikrofonů Neumann s elektronkou EC 92: CMV653, M582. Obsahuje tranzistorový předzesilovač.

VŠEOBECNÉ ÚDAJE:
Výrobce: G. Neumann & Co., Gefell/Vogtl - NDR
Tovární typ: N 61
Použití: napájení mikrofonu CMV 563 resp. M 582
Váha: 2,3 kg
Rozměry: 220 x 118 x 125 mm
Povrchová úprava: kryt stříkán kladívkovým lakem

ELEKTRICKÉ HODNOTY:
Anodový zdroj: 120 Vss 0,9 mA (stabilisovaný)
Žhavící zdroj: 5,8 Vss 142 mA
Rušivá napětí: 15 mikroV (anodový zdroj)
0,8 mV (žhavící zdroj)
Příkon: 4 W
Síťové napětí: 220 V +- 5%

Upozornění: Připojí-li se napaječ k síti šňůrou s nulovým vodičem, je nutné zašroubovat šroub na liště 3 do spodního otvoru, při připojení šňůrou bez nulového vodiče - do horního otvoru. Sejmutí krytů napaječe se provádí (po odšroubování bočních krycích lišt a povolení šroubů obou krytů) jejich posunutím směrem vpřed a vzad při současném stahování nahoru.

Napaječ NEUMANN N61V Napaječ NEUMANN N61V - čelní pohled Napaječ NEUMANN N61V - detail typového štítku Napaječ NEUMANN N61V - zadní pohled Napaječ NEUMANN N61V - rozebraný Napaječ NEUMANN N61V - rozebraný Napaječ NEUMANN N61V - rozebraný Napaječ NEUMANN N61V - rozebraný Napaječ NEUMANN N61V - detail předzesilovače Napaječ NEUMANN N61V - zachovaná nálepka na spodním krytu

Vyobrazený vzorek je kompletně funkční.

nahoru
   Navštivte obchod s MIKROFONY